您当前的位置:成果库 > 一种采用硅通孔构成的三维集成电容器及其制造方法
基本信息
- 成果类型 高等院校
- 委托机构 西安电子科技大学
- 成果持有方 西安电子科技大学
- 行业领域 电子元器件
- 项目名称 一种采用硅通孔构成的三维集成电容器及其制造方法
- 知识产权 发明专利
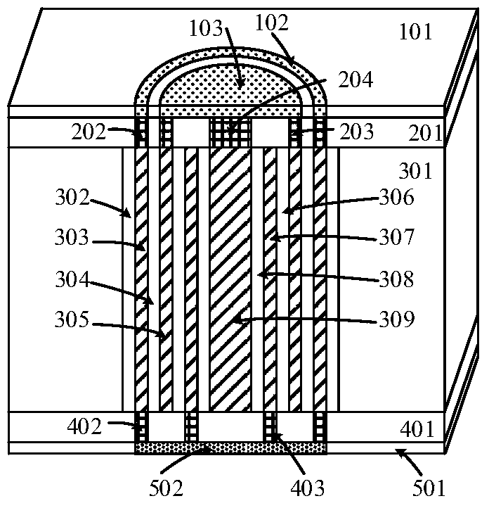
- 项目简介 本发明属于涉及一种采用硅通孔构成的三维集成电容器及其制造方法。一种采用硅通孔构成的三维集成电容器,包括顶层介质层、外层金属环极板、内层金属极板、顶层层间介质层、外层互连金属环、内层互连金属柱、中间层互连金属环、半导体衬底、第一介质层、第一金属环层、第二介质层、第二金属环层、第三介质层、第三金属环层、第四介质层、金属柱层、底层层间介质、外层金属环、内层金属环、底层介质、底层互连金属。本发明公开的三维电容器的制作均采用硅通孔制造工艺,工艺兼容性高,制造成本低;占用芯片面积小;该三维集成电容器具有较大的电容密度;而其与地接触面积仅限于外围金属层,因此对地寄生电容减小到fF量级。
-
交易信息
- 意向交易额 面议
- 挂牌时间 2017/12/12
- 委托机构 西安电子科技大学
- 联系人姓名 王小刚
- 联系人电话 15802954800
- 联系人邮箱 745490733@qq.com
- 分享至:


449
2018/08/27
咨询成果
发布成果