您当前的位置:成果库 > 带有N型漂移层台面的碳化硅UMOSFET器件及制作方法
基本信息
- 成果类型 高等院校
- 委托机构 西安电子科技大学
- 成果持有方 西安电子科技大学
- 行业领域 微电子
- 项目名称 带有N型漂移层台面的碳化硅UMOSFET器件及制作方法
- 知识产权 发明专利
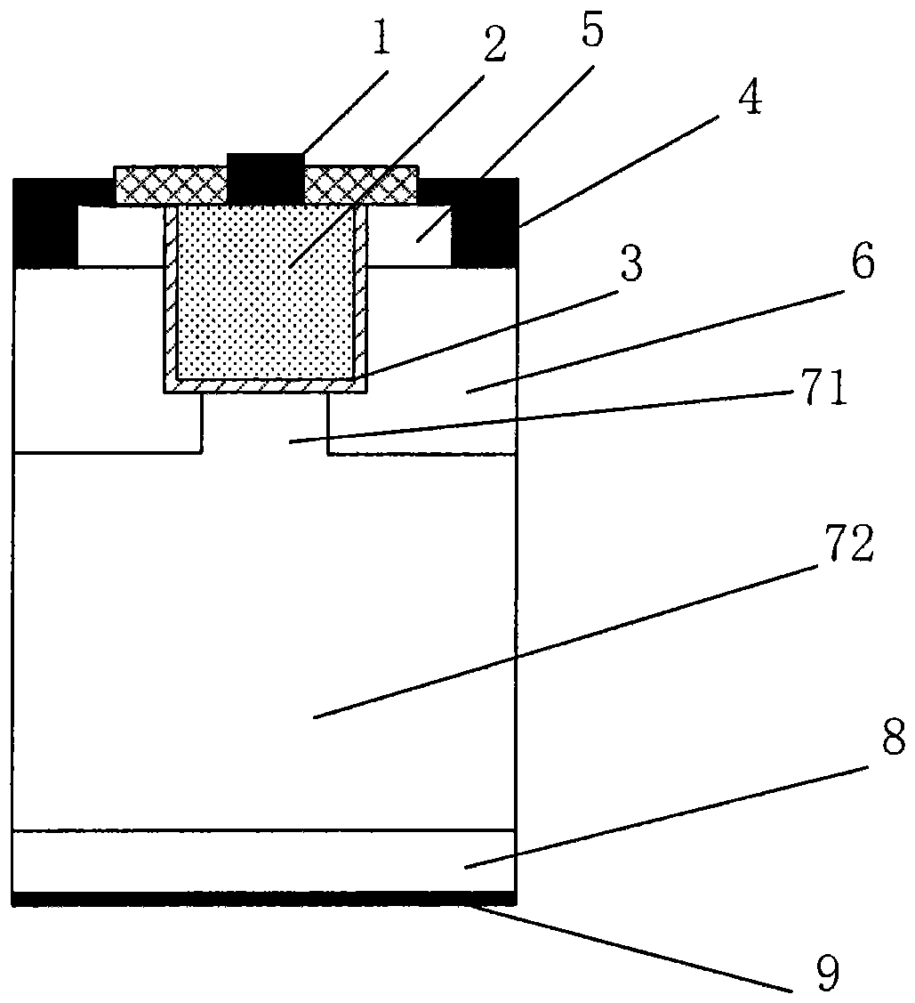
- 项目简介 本发明涉及一种带有N型漂移层台面的碳化硅UMOSFET器件及制作方法,该碳化硅UMOSFET器件包括栅极、多晶硅、槽栅介质、源极、源区接触、p‑外延层、N‑漂移层台面、N‑漂移层、N+衬底和漏极,其中,所述N‑漂移层台面设置在所述槽栅介质SiO2和N‑漂移层之间,所述N‑漂移层台面两侧为P‑外延层;所述N‑漂移层台面宽度小于多晶硅的宽度;N‑漂移层台面与所述N‑漂移层的掺杂浓度相同,为氮离子掺杂浓度为1×1015cm‑3~6×1015cm‑3的N型碳化硅外延层。本发明碳化硅PN结界面可以代替SiO2和碳化硅界面承受更高的耐压,这样增加了器件的可靠性。
-
交易信息
- 意向交易额 面议
- 挂牌时间 2017/12/22
- 委托机构 西安电子科技大学
- 联系人姓名 王小刚
- 联系人电话 15802954800
- 联系人邮箱 745490733@qq.com
- 分享至:


438
2018/08/25
咨询成果
发布成果