您当前的位置:成果库 > 一种周期通孔腔体旋转式热电转换装置
基本信息
- 成果类型 高等院校
- 委托机构 西安电子科技大学
- 成果持有方 西安电子科技大学
- 行业领域 太阳能
- 项目名称 一种周期通孔腔体旋转式热电转换装置
- 知识产权 发明专利
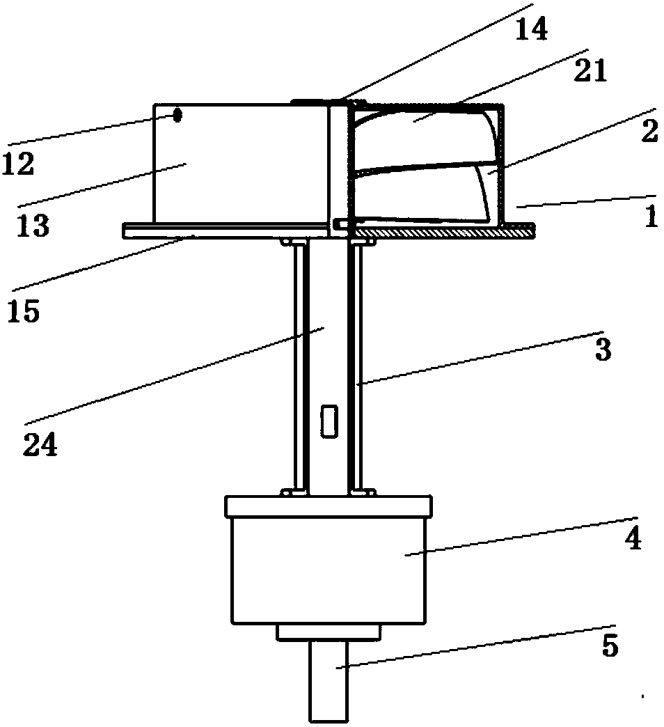
- 项目简介 本发明提出了一种周期通孔腔体旋转式热电转换装置,旨在简化现有热电转换装置的结构,并降低其质量;包括加热腔体、叶轮体、上支撑体、发电机和下支撑体;加热腔体包括相互固定的加热腔盖和加热板,形成密闭空腔;加热腔盖的侧壁上设置有排气孔;叶轮体包括叶轮和叶轮轴,叶轮轴上设置有上进气孔和下进气孔;叶轮安装在加热腔体的空腔内,叶轮外形轮廓与加热腔体的密闭空腔尺寸相等;加热腔体通过上支撑体与发电机相连接;发电机与下支撑体相连接;叶轮通过加热腔体侧壁上的排气孔和叶轮轴上的进气孔的周期性打开,加热腔体内的热空气驱动叶轮轴,带动转子相对于定子旋转,实现热电转换特性。可以应用于抛物面碟型聚光太阳能系统中。
-
交易信息
- 意向交易额 面议
- 挂牌时间 2018/03/06
- 委托机构 西安电子科技大学
- 联系人姓名 王小刚
- 联系人电话 15802954800
- 联系人邮箱 745490733@qq.com
- 分享至:


595
2018/08/13
咨询成果
发布成果